Габаритные и присоединительные размеры NMRV

Мотор-редукторы NMRV

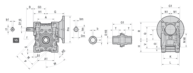
Представляем Вашему вниманию габаритные и присоединительные размеры редукторов NMRV. Обратите внимание на размеры выходного вала, в скобках прописаны нестандартные размеры, которые оговариваются заранее.

Вернуться в общее описание

 

Редукторы NMRV имеют следующие типоразмеры:

nmrv 030, nmrv 040, nmrv 050, nmrv 063, nmrv 075, nmrv 090, nmrv 110, nmrv 130, nmrv 150

 

Габаритные и присоединительные размеры NMRV

Размеры выходного фланца NMRV

Размеры входного (моторного) фланца NMRV

Размеры выходного вала NMRV

Рычаг крутящего момента NMRV

Монтажные позиции NMRV

Устройство редуктора NMRV

Выходные обороты и мощность электродвигателей (кВт)


Габаритные и присоединительные размеры NMRV

 

030
040
050
063
075
090
110
130
150
A
54
70
80
100
120
140
170
200
240
A1
54
70
80
100
120
140
164-170
200
240
B
20
23
30
40
50
50
60
80
80
D
14
18(19)
25(24)
25(28)
28 (30) (32) (35)
35(38) (40)
42
45
50
D1
9
11
14
19
24
24
28
30
35
G
55
70
80
109
126,5
145
185,5 (РАМ 132)
180
210
168 (РАМ 80-112)
G1
63
78
92
112
120
140
155
170
200
G3
45
53
64
75
90
108
135
155
175
Н
40
50
60
72
86
103
127,5
147,5
170
Н1
40
50
60
72
89
103
127,5
147,5
170
1
30
40
50
63
75
90
110
130
150
К
44
60
70
85
90-95
100
115
120
145
KE
M6*11 n°4
M6*11 n°4
M8*10 n°4
M8*14 n°8
M8*14 n°8
M10*18 n°8
M10*18 n°8
M12*21 n°8
M12*21 n°8
L
56
71
85
103
112
130
144
155
185
M
65
75
85
95
115
130
165
215
215
N
55
60
70
80
95
110
130
180
180
N1
29
36,5
43,5
53
57
67
74
81
96
O
6,5
6,5
8,5
8,5
11
13
14
16
18
P
75
87
100
110
131
160
200
250
250
Q
44
55
64
80
93
102
125
140
180
R
57
71,5
84
107
123
144
167,5
187,5
230
S
5,5
6,5
7
8
10
11
14,5
15,5
18
S1
5,5
6,5
7
8
13
11
14,5
15,5
18
T
21
26
30
36
40
45
50
60
72,5
V
27
35
40
50
60
70
82-85
100
120
W
45°
45°
45°
45°
45°
45°
45°
45°
b
5
6(6)
8(8)
8(8)
8 (8) (10) (10)
10(10) (12)
12
14
14
t
16,3
20,8(21,8)
28,3(27,3)
28,3 (31,3)
31,3(33,3) (35,3) (38,3)
38,3 (41,3) (43,3)
45,3
48,8
53,8
b1
3
4
5
6
8
8
8
8
10
t1
10,2
12,5
16
21,5
27
27
31
33
f
-
-
M6
M6
M8
M8
M10
M10
M12
Kg
1,2
2,3
3,5
6,2
9
13
21
43,5
77

 

 
© 2014 Редукторы, мотор-редукторы, устройства плавного пуска, преобразователи частоты